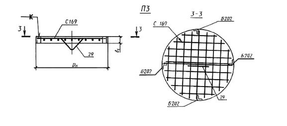
П 3

Чертеж изделия:
Характеристики изделия:
ПараметрЗначение
длина800 мм
ширина800 мм
высота60 мм
масса75 кг
нормативный документГОСТ 22687.3-85

П 3  Подпятники ГОСТ 22687.3-85.