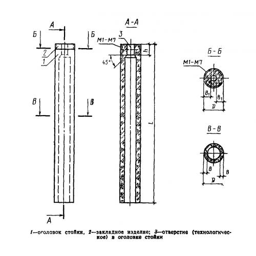
С 8-168-10К7

Чертеж изделия:
Характеристики изделия:
ПараметрЗначение
длина16800 мм
ширина800 мм
высота800 мм
масса9600 кг
нормативный документГОСТ 23444-79

С 8-168-10К7  Стойки железобетонные центрифугированные кольцевого сечения для производственных зданий и инженерных сооружений ГОСТ 23444-79.