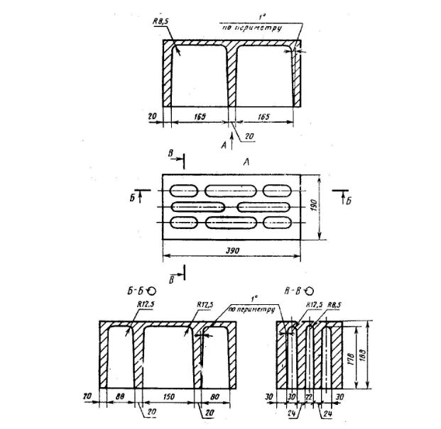
СКШ 1

Чертеж изделия:
Характеристики изделия:
ПараметрЗначение
длина390 мм
ширина190 мм
высота188 мм
масса25 кг
нормативный документГОСТ 6133-84

СКШ 1  Камень стеновой  целый на шлаковом вяжущем ГОСТ 6133-84.