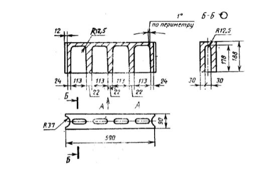
СКШ 3

Чертеж изделия:
Характеристики изделия:
ПараметрЗначение
длина590 мм
ширина90 мм
высота188 мм
масса20 кг
нормативный документГОСТ 6133-84

СКШ 3  Камень стеновой  перегородочный на шлаковом вяжущем ГОСТ 6133-84.