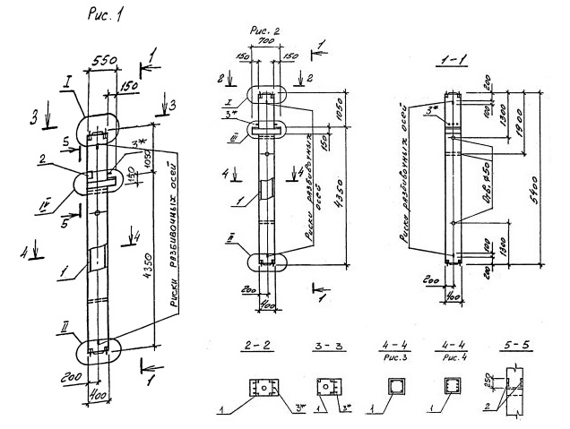
1КСО 54.00
Характеристики изделия:
| Параметр | Значение |
|---|---|
| длина | 5400 мм |
| ширина | 400 мм |
| высота | 550 мм |
| масса | 2180 кг |
| нормативный документ | Серия 1.020.1-4 |
Цена:
Рассчитать стоимость1КСО 54.00 Колонны одноконсольные для средних этажей (Серия 1.020.1-4).
Маркировка с учетом диаметра угловых стержней арматуры, в мм. и марки бетона:
1КСО 54.00-3.20.00
1КСО 54.00-3.25.00
1КСО 54.00-3.28.00
1КСО 54.00-3.32.00
1КСО 54.00-3.36.00
1КСД 54.00-3.40.00
1КСД 54.00-4.40.00