ЛМП 60.11.15

Чертеж изделия:
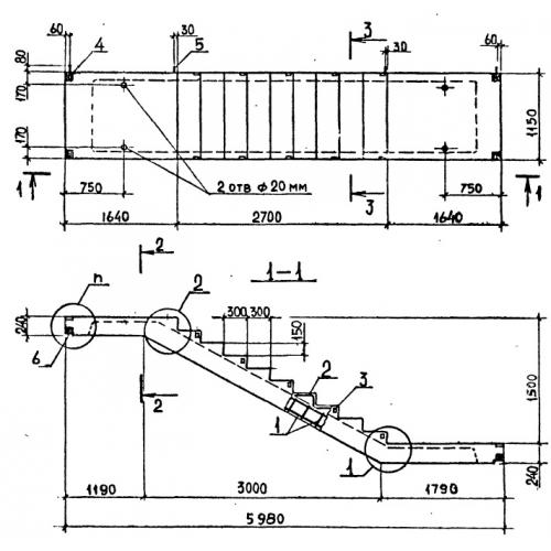
Характеристики изделия:
ПараметрЗначение
длина5980 мм
ширина1150 мм
высота1500 мм
вес2500 кг
серия1.050.1-2

ЛМП 60.11.15 Лестничные марши ребристые с полуплощадками по серии 1.050.1-2.