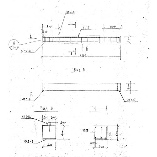
Б 43

Чертеж изделия:
Характеристики изделия:
ПараметрЗначение
длина4250 мм
ширина400 мм
высота400 мм
вес1700 кг
серия1.125 КЛ-3

Б 43 Балки по серии 1.125 КЛ-3.