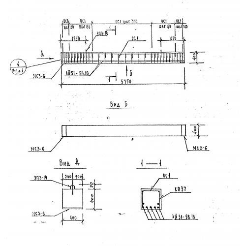
Б 58

Чертеж изделия:
Характеристики изделия:
ПараметрЗначение
длина5750 мм
ширина400 мм
высота400 мм
вес2300 кг
серия1.125 КЛ-3

Б 58 Балки по серии 1.125 КЛ-3.