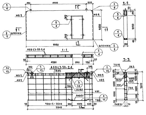
В1.3-59.27.12-2.4

Чертеж изделия:
Характеристики изделия:
ПараметрЗначение
длина5920 мм
ширина120 мм
высота2650 мм
масса4120 кг
нормативный документСерия 1.131-1

В1.3-59.27.12-2.4    Внутренние стеновые панели   (Серия 1.131-1).