Лу 32

Чертеж изделия:
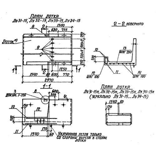
Характеристики изделия:
ПараметрЗначение
длина2970 мм
ширина3380 мм
высота1080 мм
вес5880 кг
серия3.006-2

Лу 32 Лотки теплотрасс угловые по серии 3.006-2.