Б 3 балки
Характеристики изделия:
| Параметр | Значение |
|---|---|
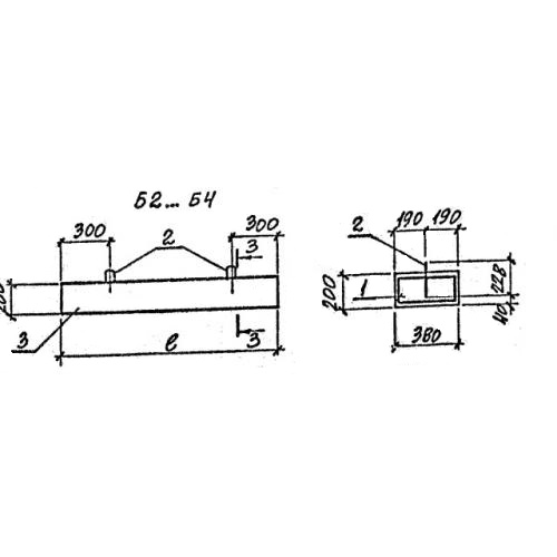
| длина | 2460мм |
| ширина | 380 мм |
| высота | 200 мм |
| масса | 480 кг |
| нормативный документ | Серия 3.006.1-8 |
Цена:
Рассчитать стоимостьБ 3 Балки перекрытия каналов Серия 3.006.1-8.
| Параметр | Значение |
|---|---|
| длина | 2460мм |
| ширина | 380 мм |
| высота | 200 мм |
| масса | 480 кг |
| нормативный документ | Серия 3.006.1-8 |
Б 3 Балки перекрытия каналов Серия 3.006.1-8.
