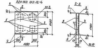
ПДУ 150.150.12 плиты днища

Чертеж изделия:
Характеристики изделия:
ПараметрЗначение
длина1480 мм
ширина1480 мм
высота120 мм
масса657 кг
нормативный документСерия 3.006.1-8

ПДУ 150.150.12  Плиты днища каналов угловые Серия 3.006.1-8.