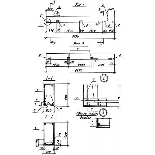
БЭ 60.2.4

Чертеж изделия:
Характеристики изделия:
ПараметрЗначение
длина5950 мм
ширина200 мм
высота400 мм
масса1200 кг
нормативный документСерия 3.016.1-9

БЭ 60.2.4  Балки эстакады  Серия 3.016.1-9.