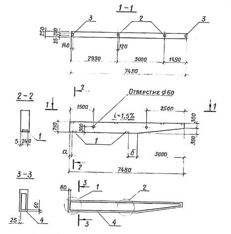
2БН7,5-4

Чертеж изделия:
Характеристики изделия:
ПараметрЗначение
Длина7480 мм
Ширина250 мм
Высота710 мм
Масса2800 кг
Нормативный документСерия 3.019.1-1

2БН7,5-4   Балка навеса по Серии 3.019.1-1.