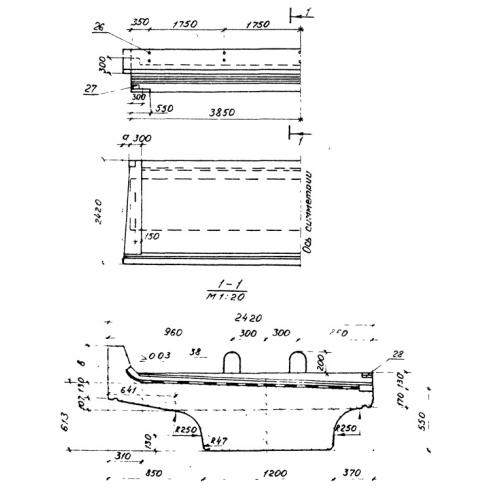
БП 77

Чертеж изделия:
Характеристики изделия:
ПараметрЗначение
длина7700 мм
ширина2420 мм
высота963 мм
вес21900 мм
Серия3.501.1-146

БП 77 Балки с пониженной строительной высотой по  Серии  3.501.1-146.