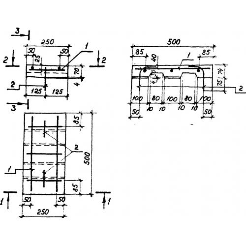
В 1

Чертеж изделия:
Характеристики изделия:
ПараметрЗначение
длина250 мм
ширина500 мм
высота74 мм
вес19,7 кг
Серия3.501.1-146

В 1 Блоки перекрывающие по Серии 3.501.1-146.