Л-2
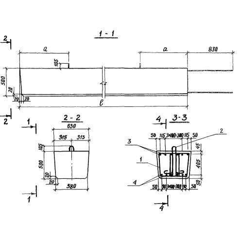
Характеристики изделия:
| Параметр | Значение |
|---|---|
| длина | 5030 мм |
| ширина | 630 мм |
| высота | 500 мм |
| вес | 3300 кг |
| серия | 3.503.1-53 |
Цена:
Рассчитать стоимостьЛ-2 Блоки лежня по серии 3.503.1-53.
| Параметр | Значение |
|---|---|
| длина | 5030 мм |
| ширина | 630 мм |
| высота | 500 мм |
| вес | 3300 кг |
| серия | 3.503.1-53 |
Л-2 Блоки лежня по серии 3.503.1-53.
