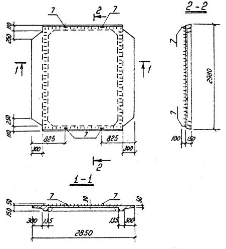
П 3.8-1

Чертеж изделия:
Характеристики изделия:
ПараметрЗначение
Длина2850 мм
Ширина2980 мм
Высота150 мм
Масса1100 кг
Нормативный документСерия 3.702.1-4

П 3.8-1   Плита надсилосная по Серии 3.702.1-4.