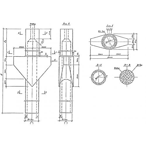
КС 84

Чертеж изделия:
Характеристики изделия:
ПараметрЗначение
длина9600 мм
ширина2000 мм
высота800 мм
вес5500 кг
ШифрЭ 1708/1

КС 84 Колонны средние по Шифру Э 1708/1.