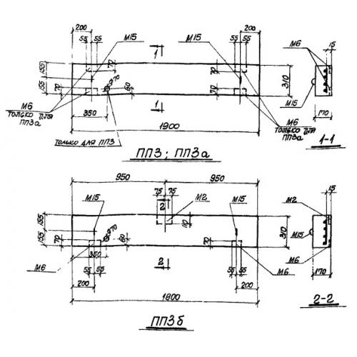
ПП 3

Чертеж изделия:
Характеристики изделия:
ПараметрЗначение
длина1900 мм
ширина310 мм
высота170 мм
вес250 кг
серияТП 905-7

ПП 3 Плиты перекрытия  по проекту ТП 905-7.